防爆一体化气象仪:在易燃易爆环境中实时监测风速风向、温湿度、气压等参数【型号推荐:TH-WFB5,物联网一体化设备,云境天合支持定制服务】在石油化工、煤矿开采、制药加工等易燃易爆场所,微小的气象变化都可能成为引发重大安全事故。风速风向的突变可能加速可燃气体扩散,温湿度的异常波动可能影响物质稳定性,气压的骤变则可能干扰通风系统运行。防爆一体化气象仪作为专为高危环境设计的“安全卫士”,通过集成高精度传感器与防爆技术,能够在潜在爆炸性环境中稳定运行,实时捕捉风速、风向、温度、湿度、大气压力等关键气象参数。其外壳采用耐腐蚀、抗氧化的特殊材料制造,内部电路经过严格防爆处理,确保不会产生火花或热源。这些实时数据不仅为生产安全提供科学依据,还能在异常气象条件下触发预警机制,指导人员疏散与设备调整,为易燃易爆场所构筑起一道全天候、多维度的安全防线。

一、产品简介
我司作为专业研发生产销售一体化防爆气象传感器的企业,一直致力于微型气象仪和气象环境解决方案推广应用。具有完整的生产链、实力雄厚的技术团队和全面的营销团队,我们研发生产的超声波防爆风速风向仪、防爆五要素微气象仪等气象产品,已广泛应用到化工厂、油库、隧道、矿井等领域,客户遍布全国各地,并取得了良好的社会效益和经济效益。
与传统的微型气象仪相比,我司产品克服了对高精度计时器的需求,避免了因传感器启动延时、解调电路延时、温度变化而造成的测量不准问题。
WFB5型防爆五要素微气象仪创新性地将风速、风向、温度、湿度、大气压力通过一个高集成度结构来实现,可实现户外气象参数24小时连续在线监测,通过数字量通讯接口将五项参数一次性输出给用户。
二、产品特点
1、顶盖隐藏式超声波探头,避免雨雪堆积的干扰,避免自然风遮挡☆
2、原理为发射连续变频超声波信号,通过测量相对相位来检测风速风向☆
3、风速、风向、温度、湿度、大气压力五要素一体式☆
4、采用先进的传感技术,实时测量,无启动风速☆
5、抗干扰能力强,具有看门狗电路,自动复位功能,保证系统稳定运行
6、高集成度,无移动部件,零磨损
7、免维护,无需现场校准
8、采用ASA工程塑料室外应用常年不变色
9、产品设计输出信号标配为RS485通讯接口(MODBUS协议);可选配232、USB、以太网接口,支持数据实时读取☆
10、可选配无线传输模块,最小传输间隔1分钟
11、探头为卡扣式设计,解决了运输、安装过程松动不准的问题☆
三、技术参数
1、风速:测量原理超声波,0~60m/s(±0.1m/s)分辨率0.01m/s;
2、风向:测量原理超声波,0~360°(±2°);分辨率:1°;
3、空气温度:测量原理二极管结电压法,-40-60℃(±0.3℃),分辨率0.01℃;
4、空气湿度:测量原理电容式,0-100%RH(±3%RH),分辨率:0.1%RH;
5、大气压力:测量原理压阻式,300-1100hpa(±0.25%),分辨率0.1hpa;
6、生产企业具有ISO质量管理体系、环境管理体系和职业健康管理体系认证☆
7、生产企业具有计算机软件注册证书☆
8、生产企业为3Aji信用企业☆
9、生产企业具有Ex ia IIC T6 Ga高等级防爆证书☆
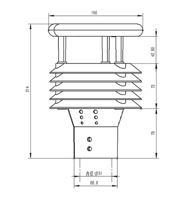
四、产品尺寸图

五、产品结构图

1、控制电路
2、指北箭头
3、超声波探头
4、百叶箱
5、温度、湿度、气压监测位置
6、底部固定法兰
※此产品可选配电子罗盘、GPRS(内置)/GPS(二选一)
六、产品接线定义

VCC:棕色,GND:黑色,485A:绿色,485B:蓝色
七、法兰盘固定方式
1、微气象仪
2、固定螺钉
3、通信电缆+航插
法兰盘尺寸
电话
微信扫一扫